Кнопка закрыть
Спасибо!
Спасибо, что оставили заявку.
Мы обработаем вашу заявку и обязательно позвоним!
Кнопка закрыть
Форма заявки
Оставьте ваши контакты,
мы обязательно с вами свяжемся
Ваше имя
Номер телефона (Перезвоним Вам)
Комментарий
Лучшие традиции производства типового и нестандартного вентиляционного, газоочистного, и теплоэнергетического оборудования для промышленных предприятий.
По техническим вопросам
+7(383) 214-66-16
manager@edvensgroup.ru
По работе с клиентами
+7(383) 214-66-16
sale@edvensgroup.ru
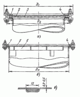
Клапаны пылегазовоздухопроводов
Получить консультацию специалиста
Оставьте заявку на подробную консультацию специалиста, мы подберем лучшее оборудования исходя из ваших требований
Имя
Компания
Телефон
E-mail
Комментарий
Подтверждаю свое согласие на обработку персональных данных и политикой конфиденциальности компании в отношении персональных данных.